Hidrolik Tampon

Flexible Kablolar

YAPISI
1.0 m/s, 1.6 m/s, 1.8 m/s, 2.0 m/s, ve 2.5 m/s ölçülerindeki Hidrolik Tampon ünitelerimiz asansör güvenliğinin en önemli parçalarından biridir. 

YSLY Kablolar

Yüksek mukavemet özelliğiyle çarpmanın etkisini en aza indiren ürünlerimiz
EN 81-20/50 uyumludur.

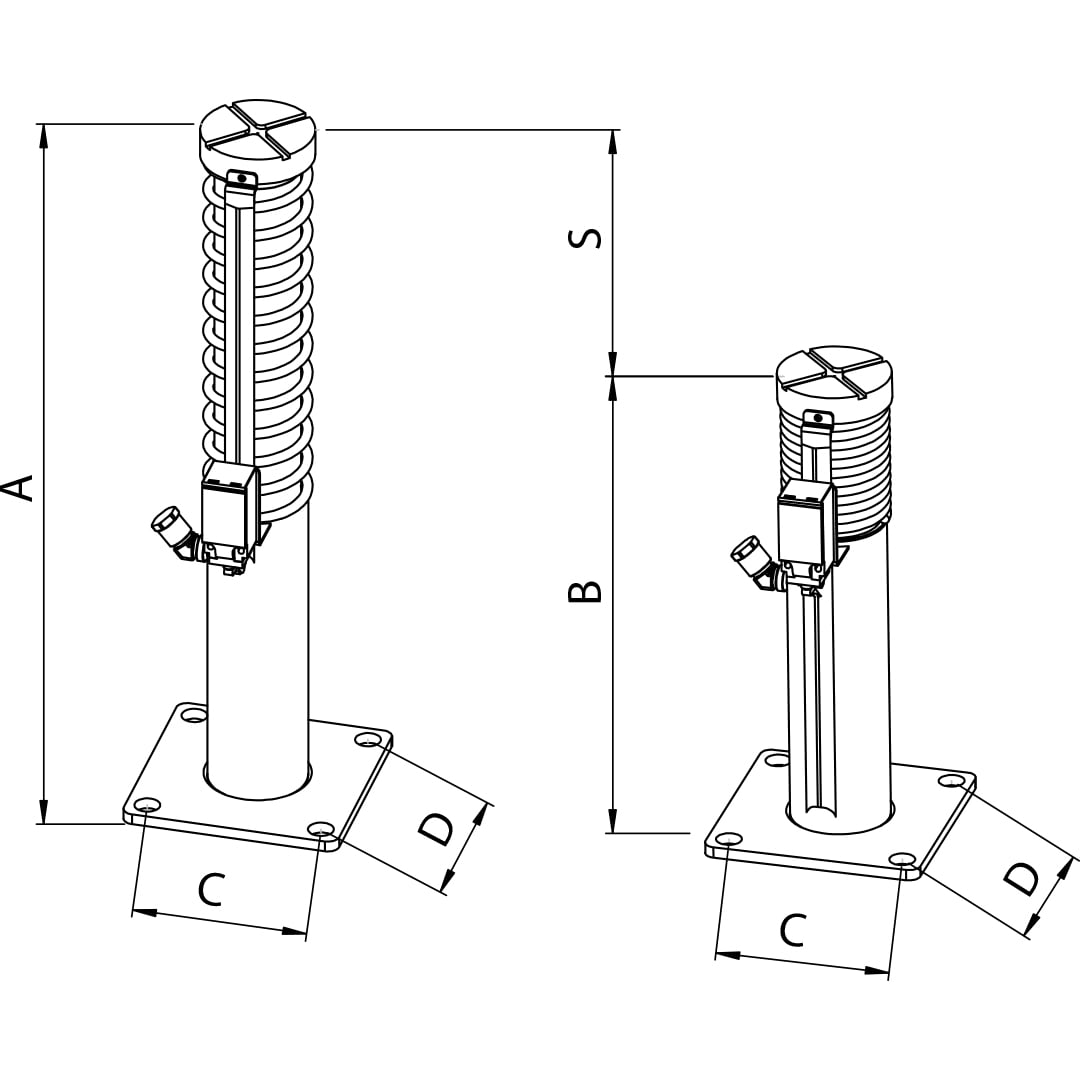
Teknik Özellikler

TİP

Model

V

(m/s)

V1

(m/s)

MAX YÜKSEKLİK
Max Height (A)

(mm)

MİN YÜKSEKLİK

Min Height (B)

(mm)

STROK

Stroke (S)
(mm)

C / D

(mm)

KAPASİTE

Capacity
(kg)

YAKLAŞIK ÜRÜN AĞIRLIĞI

Approximate Product Weight
(kg)

CORTREXHT - 01

1.0

1.15

300

220

80

125

600-2500

6

CORTREXHT - 02

1.0

1.15

530

350

180

125

600-3000

8

1.6

1.84

600-2500

CORTREXHT - 03

1.0

1.15

620

440

180

125

600-3300

9

1.6

1.84

600-2750

CORTREXHT - 04

2.0

2.30

800

520

280

125

600-3000

11

CORTREXHT - 05

1.0

1.15

1147

722

425

125

600-3750

23

1.6

1.84

600-3300

2.0

2.30

600-3000

2.5

2.87

600-2500

CORTREXHT - 11

1.6

1.84

535

355

180

125

600-5500

14

CORTREXHT - 12

1.8

2.07

665

440

220

125

600-5500

16

CORTREXHT - 13

2.0

2.30

805

525

280

125

600-5500

18

CORTREXHT - 14

2.5

2.87

1145

720

425

125

600-5500

23

Hakkımızda

Büyükkayacıkosb Mah.
T.Ziyaeddin Akbulut Cad. No:4/1
3. Organize Sanayi Bölgesi
Selçuklu / Konya / TÜRKİYE

Bizi Takip Edin